永磁筒式磁選機在垃圾焚燒電廠中應用

一、永磁筒式磁選機在垃圾焚燒電廠中應用磁系
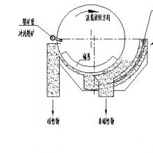
1、采用管式給礦裝置,通過溢流板溢流,達到均勻給礦的目的。
2、磁系采用大包角設計達240-270度,多磁極設計,并可根據礦物性質和選礦的指標要求變換磁系結構,達到合理的選礦指標。
3、筒體內設置有磁場攪動裝置。
4、采用順流給礦方式,滾筒逆向旋轉,設有多級漂洗水(可根據情況選擇性啟閉)。
5、卸礦采用聚氨酯刮板兩級卸料,確保卸料干凈。
6、傳動系統采用變頻調速。
二、永磁筒式磁選機所選物料
主要是用來對非金屬礦去磁或者對金屬礦選磁,適用于濕式分選強磁性礦物細顆粒,選礦粒度不得大于3mm。CTB永磁筒式磁選機經常用在磁鐵礦、褐鐵礦、菱鐵礦等金屬礦選礦、除鐵、磁分離等領域,是鋼鐵、化工等行業的基礎選礦設備。
三、永磁筒式磁選機性能優勢
1、在滾筒上設置了雙白鋼筒皮結構,具有較強的耐磨性和韌性,降低了磨損,延長了使用壽命。
2、永磁筒式磁選機的滾筒密封設置為0形圈密封,并進行了打壓實驗測試,防止了滾筒進水,同時保證了磁滾筒的正常工作。
3、槽體設計增設了粗顆粒排出孔、排渣孔和清洗水管等附屬部件,有效防止槽體沉礦,提高精礦品位。
4、磁選結構的設計采用高性能的永磁體,即使在大流量條件下磁性質也不會丟失。
5、永磁筒式磁選機采用進型減速電機,傳動裝置采用了精密滾子鏈輪,體積小,重量輕,方便移動工作。
6、獨特的結構設計,不僅保證了礦物在筒體表面的充分翻轉,也提高了磁選效率。
7、永磁筒式磁選機的運行可靠平穩,故障率低,操作維修方便。
8、永磁筒式磁選機的處理量非常大,不僅適用于磁鐵礦、焙燒礦、鈦鐵礦等礦物的濕式磁選,同時也應用于建筑、非金屬礦、煤等物料的除鐵工作。